Like Tree1Likes

Ступичный подшипник

Страница 10 из 26 ПерваяПервая ... 8910111220 ... ПоследняяПоследняя
Показано с 91 по 100 из 259

Комбинированный просмотр

Предыдущее сообщение Предыдущее сообщение   Следующее сообщение Следующее сообщение
  1. #1
    Участник
    Регистрация
    13.03.2010
    Адрес
    Когалым
    Сообщений
    129

    По умолчанию

    Цитата Сообщение от Samolet Посмотреть сообщение
    jozhikpljus,
    (прошу заметить не гул, а ШУМ!) почему акцентирую! Потому что на наших тазиках износ подшипника сопровожается просто не забываемым характерным ГУЛом....
    где правда?)))))))))
    Дружище "Тазик"- это ВАЗик, а не как не Хонда!

  2. #2
    Участник
    Регистрация
    01.09.2009
    Адрес
    Moscow
    Сообщений
    301

    По умолчанию

    jozhikpljus,
    Да я не пытался тебя оскорбить.
    Ты почитай всё что ты написал.

  3. #3
    Старожил
    Регистрация
    03.07.2009
    Адрес
    Москва,ЮАО
    Сообщений
    1,129

    По умолчанию

    Samolet,
    я лично все понял из того, что написал
    jozhikpljus,
    правда со второго раза

  4. #4
    Участник
    Регистрация
    01.09.2009
    Адрес
    Moscow
    Сообщений
    301

    По умолчанию

    serj308,
    Смешно просто человек пишет в одном предложении.

    Был только характерный шум(прошу заметить не гул, а шум!) почему акцентирую! Потому что на наших тазиках износ подшипника сопровожается просто не забываемым характерным гулом.

    Я лишь процитировал его слова.
    а он дальше еще хлеще выдает

    Дружище "Тазик"- это ВАЗик
    Ну как так то?)))))

  5. #5
    Участник
    Регистрация
    25.05.2010
    Адрес
    Спб
    Сообщений
    22

    По умолчанию

    Ребята всем привет! Все прочитал ничего не понял! У кого была ситуация ТОЧНО такая же как и у меня? Подскажите что делать?

    Была Замена подшипника переднего на подшипник SNR на обычном СТО. Загорелось VSA ABS (!).

    Как проблему решить?

  6. #6
    Участник
    Регистрация
    29.05.2013
    Адрес
    Москва
    Сообщений
    27

    По умолчанию

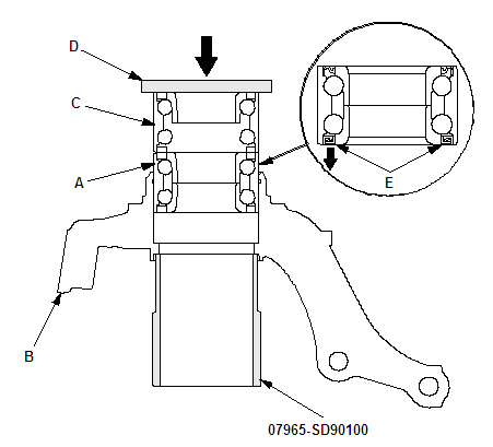
    Ступичный подшипник-new-2.jpg

    Установите новый подшипник (А) ступицы в поворотный кулак (В), используя старый подшипник (С), стальную пластину (D), специальное приспособление и пресс.

    ПРИМЕЧАНИЕ:

    •Устанавливайте подшипник ступицы так, чтобы магнитное кодировочное кольцо (Е) коричневого цвета было обращено внутрь поворотного кулака.
    •Удалите следы масла, смазки, грязи, металлических частиц и других посторонних веществ с поверхности кодировочного кольца.
    •Не допускайте контакта магнитного инструмента с поверхностью магнитного кодировочного кольца.
    •При установке подшипника постарайтесь не повредить поверхность кодировочного кольца.

    Вывод: либо повреждено это магнитное кольцо, либо подшипник установлен наоборот (если такое вообще возможно), либо оторван датчик угловой скорости колеса (датчик ABS).

  7. #7
    Участник
    Регистрация
    25.05.2010
    Адрес
    Спб
    Сообщений
    22

    По умолчанию

    Спасибо!! Буду разбираться!

  8. #8
    Член Клуба
    Регистрация
    22.03.2013
    Адрес
    Москва, ВАО
    Сообщений
    315

    По умолчанию

    Приговорили оба передних подшипника ступицы (а я думал это резина такая шумная ), начитался про это магнитное кольцо, решил ставить оригинал. Только что мне нужно 44300-SNA-951 или 44300-SNA-952? В чем разница?

  9. #9
    Участник
    Регистрация
    28.07.2013
    Адрес
    Москва, ЮЗАО
    Сообщений
    88

    По умолчанию

    Цитата Сообщение от CaBaLchik Посмотреть сообщение
    Приговорили оба передних подшипника ступицы (а я думал это резина такая шумная ), начитался про это магнитное кольцо, решил ставить оригинал. Только что мне нужно 44300-SNA-951 или 44300-SNA-952? В чем разница?
    Подниму. Кто может дать разъяснения?

    ---------- Сообщение добавлено 27.01.2014 в 09:59 ----------

    Pharaon,
    Спасибо за разъяснения про накручивание цен от Honda. Удар в цель, с полной доказательной базой__))фото не отвертишься....

    P.S. 4D и 5D передние подшипники ступицы разные или одинаковые?
    Последний раз редактировалось Anticonst; 27.01.2014 в 10:09.

  10. #10
    Участник
    Регистрация
    11.06.2011
    Адрес
    Лодейное Поле, Санкт-Петербург
    Сообщений
    226

    По умолчанию

    Цитата Сообщение от Anticonst Посмотреть сообщение
    Подниму. Кто может дать разъяснения?

    ---------- Сообщение добавлено 27.01.2014 в 09:59 ----------

    Pharaon,
    Спасибо за разъяснения про накручивание цен от Honda. Удар в цель, с полной доказательной базой__))фото не отвертишься....

    P.S. 4D и 5D передние подшипники ступицы разные или одинаковые?
    Да не за что ))) Сам вот всё собираюсь купить подшипник ступичный, слева гудит (( Но всё до Питера не доехать, что бы купить. И как я понял, 4D и 5D передние подшипники ступицы разные всё таки.

    ---------- Сообщение добавлено 27.01.2014 в 13:11 ----------

    Цитата Сообщение от Executive Посмотреть сообщение
    Продаю ступицу новую ориг в сборе за 3500
    Переднюю ступицу продаёшь?!? С подшипником? Мне надо на 5D поменять подшипник слева, но думаю, что может и ступицу оригинал прикупить в сборе.

Похожие темы

  1. ОЧЕНЬ СРОЧНО ступичный подшипник
    от Cit.Rus в разделе Ремонт
    Ответов: 32
    Последнее сообщение: 06.04.2011, 21:49
  2. Зад ступичный подшипник
    от Павел 341 в разделе Подвеска
    Ответов: 6
    Последнее сообщение: 30.07.2010, 21:09
  3. Ответов: 13
    Последнее сообщение: 13.05.2010, 00:12
  4. Ступичный подшипник?
    от bulatik85 в разделе Подвеска
    Ответов: 19
    Последнее сообщение: 08.09.2008, 22:55

Ваши права

  • Вы не можете создавать новые темы
  • Вы не можете отвечать в темах
  • Вы не можете прикреплять вложения
  • Вы не можете редактировать свои сообщения
  •